WA42Y波纹管平衡式安全阀
- 销售:
- 销售:
- 传真:
详情介绍
- 产品介绍
- 服务承诺
- 订货流程
WA42Y波纹管平衡式安全阀适用于工作温度≤200℃存在不稳定背压或有毒、腐蚀性介质的设备或管路上,作为超压保护装置。连接法兰标准≤4MPa采用JB/T……94系列1。>4MPa按JB/T……94系列2标准。
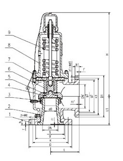
波纹管平衡式安全阀产品型号WA42Y-16/25/40/64/100C/P/R
主要零件材料
NO. | 零件名称 | WA42Y-C型材料 | WA42Y-P型材料 | WA42Y-R型材料 |
1 | 阀体 | WCB | ZG1Cr18Ni8Ti,304 | CF8M |
2 | 阀座 | 2Cr13 | 1Cr18Ni8Ti | 316 |
3 | 调节圈 | 2Cr13 | 1Cr18Ni8Ti | 0Cr18Ni12Mo2Ti |
4 | 阀瓣 | 2Cr13 | 1Cr18Ni8Ti | 316 |
5 | 反冲盘 | 2Cr13 | 1Cr18Ni8Ti | 316 |
6 | 波纹管 | 304 | 304 | 316 |
7 | 导向套 | 2Cr13 | 1Cr18Ni8Ti | 0Cr18Ni12Mo2Ti |
8 | 阀盖 | ZG230-450 | ZG230-450 | ZG230-450 |
9 | 弹簧 | 50CrVA | 50CrVA包覆氟塑料 | 50CrVA包覆氟塑料 |

主要外形尺寸
型号 | 公称通径 | do | D | K | g | g1 | b | f | f1 | Z-ød | DN' | D1 | K1 | g3 | g2 | b1 | f' | f1' | Z1-ød1 | L | L1 | ≈H |
25 | 16 | 115 | 85 | 65 | 16 | 2 | 4-14 | 32 | 140 | 100 | 78 | 18 | 2 | 4-18 | 110 | 95 | 378 | |||||
32 | 20 | 140 | 100 | 78 | 18 | 2 | 4-18 | 40 | 150 | 110 | 85 | 18 | 3 | 4-18 | 115 | 100 | 378 | |||||
40 | 25 | 150 | 110 | 85 | 18 | 3 | 4-18 | 50 | 165 | 125 | 100 | 18 | 3 | 4-18 | 120 | 110 | 406 | |||||
50 | 32 | 165 | 125 | 100 | 20 | 3 | 4-18 | 65 | 185 | 145 | 120 | 20 | 3 | 4-18 | 135 | 120 | 450 | |||||
65 | 40 | 185 | 145 | 120 | 20 | 3 | 4-18 | 80 | 200 | 160 | 135 | 20 | 3 | 8-18 | 160 | 140 | 520 | |||||
80 | 50 | 200 | 160 | 135 | 20 | 3 | 8-18 | 100 | 220 | 180 | 155 | 22 | 3 | 8-18 | 170 | 135 | 525 | |||||
100 | 65 | 220 | 180 | 155 | 22 | 3 | 8-18 | 125 | 250 | 210 | 185 | 22 | 3 | 8-18 | 195 | 175 | 690 | |||||
125 | 80 | 250 | 210 | 185 | 22 | 3 | 8-18 | 150 | 285 | 240 | 210 | 24 | 3 | 8-23 | 210 | 190 | 857 | |||||
150 | 100 | 285 | 240 | 210 | 24 | 3 | 8-23 | 175 | 310 | 270 | 240 | 26 | 3 | 8-23 | 255 | 230 | 838 | |||||
200 | 125 | 340 | 295 | 265 | 26 | 3 | 12-23 | 250 | 405 | 355 | 320 | 30 | 3 | 12-26 | 300 | 260 | 992 | |||||
WA42Y-25 | 25 | 16 | 115 | 85 | 65 | 16 | 2 | 4-14 | 32 | 140 | 100 | 78 | 18 | 2 | 4-18 | 110 | 95 | 378 | ||||
32 | 20 | 140 | 100 | 78 | 18 | 2 | 4-18 | 40 | 150 | 110 | 85 | 18 | 3 | 4-18 | 115 | 100 | 378 | |||||
40 | 25 | 150 | 110 | 85 | 18 | 3 | 4-18 | 50 | 165 | 125 | 100 | 20 | 3 | 4-18 | 120 | 110 | 406 | |||||
50 | 32 | 165 | 125 | 100 | 20 | 3 | 4-18 | 65 | 185 | 145 | 120 | 20 | 3 | 4-18 | 135 | 120 | 450 | |||||
65 | 40 | 185 | 145 | 120 | 22 | 3 | 8-18 | 80 | 200 | 160 | 135 | 20 | 3 | 8-18 | 160 | 140 | 520 | |||||
80 | 50 | 200 | 160 | 135 | 22 | 3 | 8-18 | 100 | 220 | 180 | 155 | 22 | 3 | 8-18 | 170 | 135 | 525 | |||||
100 | 65 | 230 | 190 | 160 | 24 | 3 | 8-23 | 125 | 250 | 210 | 185 | 22 | 3 | 8-18 | 195 | 175 | 690 | |||||
125 | 80 | 270 | 220 | 188 | 28 | 3 | 8-26 | 150 | 285 | 240 | 210 | 24 | 3 | 8-23 | 210 | 190 | 780 | |||||
150 | 100 | 300 | 250 | 218 | 30 | 3 | 8-26 | 175 | 310 | 270 | 240 | 26 | 3 | 8-23 | 255 | 230 | 838 | |||||
200 | 125 | 360 | 310 | 278 | 34 | 3 | 12-26 | 250 | 405 | 355 | 320 | 30 | 3 | 12-26 | 300 | 260 | 992 | |||||
WA42Y-40 | 25 | 16 | 115 | 85 | 58 | 65 | 16 | 2 | 4 | 4-14 | 32 | 140 | 100 | 78 | 18 | 2 | 4-18 | 110 | 95 | 378 | ||
32 | 20 | 140 | 100 | 66 | 78 | 18 | 2 | 4 | 4-18 | 40 | 150 | 110 | 85 | 18 | 3 | 4-18 | 115 | 100 | 378 | |||
40 | 25 | 150 | 110 | 76 | 85 | 18 | 3 | 4 | 4-18 | 50 | 165 | 125 | 100 | 20 | 3 | 4-18 | 120 | 110 | 406 | |||
50 | 32 | 165 | 125 | 88 | 100 | 20 | 3 | 4 | 4-18 | 65 | 185 | 145 | 120 | 20 | 3 | 4-18 | 135 | 120 | 450 | |||
65 | 40 | 185 | 145 | 110 | 120 | 22 | 3 | 4 | 8-18 | 80 | 200 | 160 | 135 | 20 | 3 | 8-18 | 160 | 140 | 520 | |||
80 | 60 | 200 | 160 | 121 | 135 | 24 | 3 | 4 | 8-18 | 100 | 220 | 180 | 155 | 22 | 3 | 8-18 | 170 | 135 | 525 | |||
100 | 65 | 235 | 190 | 150 | 160 | 24 | 3 | 4.5 | 8-23 | 125 | 250 | 210 | 185 | 22 | 3 | 8-18 | 195 | 175 | 690 | |||
125 | 80 | 270 | 220 | 188 | 176 | 28 | 3 | 4.5 | 8-26 | 150 | 285 | 240 | 210 | 24 | 3 | 8-23 | 210 | 190 | 857 | |||
150 | 100 | 300 | 250 | 204 | 218 | 30 | 3 | 4.5 | 8-26 | 175 | 310 | 270 | 240 | 26 | 3 | 8-23 | 255 | 230 | 838 | |||
200 | 125 | 375 | 320 | 260 | 282 | 38 | 3 | 4.5 | 12-30 | 250 | 405 | 355 | 320 | 30 | 3 | 12-26 | 300 | 260 | 992 |
型号 | 公称通径 | do | D | K | g | g1 | b | f | f1 | Z-ød | DN' | D1 | K1 | g3 | g2 | b1 | f' | f1' | Z1-ød1 | L | L1 | ≈H |
WA42Y-64 | 25 | 16 | 140 | 100 | 58 | 78 | 22 | 2 | 4 | 4-18 | 32 | 140 | 100 | 66 | 78 | 18 | 2 | 4 | 4-18 | 110 | 100 | 277 |
32 | 20 | 155 | 110 | 66 | 82 | 24 | 2 | 4 | 4-23 | 40 | 150 | 110 | 76 | 85 | 18 | 3 | 4 | 4-18 | 130 | 110 | 289 | |
40 | 25 | 170 | 125 | 76 | 95 | 24 | 3 | 4 | 4-23 | 50 | 165 | 125 | 88 | 100 | 20 | 3 | 4 | 4-18 | 130 | 120 | 319 | |
50 | 32 | 180 | 135 | 88 | 105 | 26 | 3 | 4 | 4-23 | 65 | 185 | 145 | 110 | 120 | 22 | 3 | 4 | 8-18 | 135 | 130 | 389 | |
65 | 40 | 205 | 160 | 110 | 130 | 28 | 3 | 4 | 8-23 | 80 | 200 | 160 | 121 | 135 | 22 | 3 | 4 | 8-18 | 175 | 160 | 493 | |
80 | 50 | 215 | 170 | 121 | 140 | 30 | 3 | 4 | 8-23 | 100 | 235 | 190 | 150 | 160 | 24 | 3 | 4.5 | 8-23 | 175 | 160 | 483 | |
100 | 65 | 250 | 200 | 150 | 168 | 32 | 3 | 4.5 | 8-26 | 125 | 270 | 220 | 176 | 188 | 28 | 3 | 4.5 | 8-25 | 195 | 195 | 613 | |
150 | 100 | 345 | 280 | 204 | 240 | 38 | 3 | 4.5 | 8-34 | 200 | 375 | 320 | 260 | 282 | 38 | 3 | 4.5 | 12-30 | 280 | 265 | 894 | |
WA42Y-100 | 25 | 16 | 140 | 100 | 58 | 78 | 24 | 3 | 4 | 4-18 | 32 | 140 | 100 | 66 | 78 | 18 | 2 | 4 | 4-18 | 110 | 100 | 277 |
32 | 20 | 155 | 110 | 66 | 82 | 24 | 2 | 4 | 4-23 | 40 | 150 | 110 | 76 | 85 | 18 | 3 | 4 | 4-18 | 130 | 110 | 289 | |
40 | 25 | 170 | 125 | 76 | 95 | 26 | 2 | 4 | 4-23 | 50 | 165 | 125 | 88 | 100 | 20 | 3 | 4 | 4-18 | 130 | 120 | 319 | |
50 | 32 | 195 | 145 | 88 | 112 | 28 | 3 | 4 | 4-26 | 65 | 185 | 145 | 110 | 120 | 22 | 3 | 4 | 8-18 | 135 | 130 | 389 | |
65 | 32 | 220 | 170 | 110 | 138 | 32 | 3 | 4 | 8-26 | 80 | 200 | 160 | 121 | 135 | 22 | 3 | 4 | 8-18 | 175 | 160 | 493 | |
80 | 40 | 230 | 180 | 121 | 148 | 34 | 3 | 4 | 8-26 | 100 | 235 | 190 | 150 | 160 | 24 | 3 | 4.5 | 8-23 | 175 | 160 | 483 | |
100 | 50 | 265 | 210 | 150 | 172 | 38 | 3 | 4.5 | 8-30 | 125 | 270 | 220 | 176 | 188 | 28 | 3 | 4.5 | 8-25 | 195 | 195 | 613 | |
150 | 80 | 355 | 290 | 204 | 250 | 46 | 3 | 4.5 | 12-34 | 200 | 375 | 320 | 260 | 282 | 38 | 3 | 4.5 | 12-30 | 280 | 265 | 894 |
良好的品质、优良的服务 九游·官方端平台-九游online(中国)为你创造更多价值!
“九游·官方端平台-九游online(中国)”的期望,不断提升服务质量,精益求精,“真诚的服务”是“九游·官方端平台-九游online(中国)”永恒的主题。“九游·官方端平台-九游online(中国)”严格按照IS09001-2000 质量体系认证要求,质量严格把关, 责任到人,确保生产、销售、服务的健康运行。加强与用户沟通,竭诚为广大客户提供优良产品,至善至美服务。特此我厂做出以下承诺:
产品标准:
产品严格按照中国GB、HG 标准和美国API等标准设计、制造、验收。密封面硬度达到国家规定要求,宽度超过国家标准。
售前服务:
产品介绍,技术交流,非标产品设计,疑难解答。
售中服务:
守信合同,保证及时供货,随时保持与客户联系。 对特殊或复制的产品,我厂安排技术人员对用户进行产品使用、故障排除
售后服务:
1、“九游·官方端平台-九游online(中国)”牌产品品质期为自出厂起12个月,实行“三包”服务(包退、包换、保修)。
2、产品在使用中我厂定期组织技术、质检人员进行访问,征询用户对产品质量、 使用状况、改进意见等方面的反馈, 以便进一步提高产品质量。
3、对用户投诉质量问题,快速作出反应,售后服务人员在24-36小时(省外48小时)赶赴现场。
4、对售后服务,要求用户填写服务后的质量反馈信息表,并作出鉴定意见,以便提高九游·官方端平台-九游online(中国)的服务质量。
1、客户如对产品有特殊要求,须在订货合同中提供以下说明:
a、结构长度;
b、连接形式;
c、公称直径、全通径、缩径、管道尺寸;
d、运行介质及温度、压力范围;
e、试验、检验标准及其他要求
2、本厂可根据客户特定要求配置各类驱动装置。
3、如由客户提供确定的阀门类型和型号时,客户应正确说明其型号的含义和要求,在供需双方理解一致的条件下签订合同。
4、期货、订货的客户请先来电函详细告诉所需的阀门型号、规格、数量以及交货时间、地点,并按总的30%预定金或全额货款及时汇入我厂帐户,其余货款待发货前汇入,以便及时安排发货。
订单流程:
1、客户采购清单传真至,或来电咨询
2、收到客户采购清单,为客户提供阀门型号选型与报价(价格清单)。
3、具体商定:交货期、特殊要求等事宜。
订货须知:
1、客户如对产品有特殊要求,须在订货合同中提供以下说明:
|
|||||
|
|||||
2、本厂可根据客户特定要求配置各类驱动装置。
|
|||||
3、如由客户提供确定的阀门类型和型号时,客户应正确说明其型号的含义和要求,在供需双方理解一致的条件下签订合同。
|
|||||
4、期货、订货的客户请先来电函详细告诉所需的阀门型号、规格、数量以及交货时间、地点,并按总的30%预定金或全额货款及时汇入我厂账户, 其余货款待发货前汇入,以便及时安排发货。
|
售中服务:
守信合同,保证及时供货,随时保持与客户联系。
对特殊或复制的产品,我厂安排技术人员对用户进行产品使用、故障排除
售后服务:
1、“九游·官方端平台-九游online(中国)”产品品质期为自出厂起12个月,实行“三包”服务(包退、包换、保修)。
2、产品在使用中我厂定期组织技术、质检人员进行访问,征询用户对产品质量、使用状况、改进意见等方面的反馈,
以便进一步提高产品质量。
3、对用户投诉质量问题,快速作出反应,售后服务人员在24-36小时(省外48小时)赶赴现场。
4、对售后服务,要求用户填写服务后的质量反馈信息表,并作出鉴定意见,以便提高“九游·官方端平台-九游online(中国)”的服务质量。
声明 |
|